RFID读写器内部“大揭秘”!
RFID读写器是读取或写入电子标签信息的设备,具有读取、显示和数据处理等功能。读写器可以单独存在,也可以以部件的形式嵌入到其他系统中。读写器与计算机网络一起,完成对电子标签的操作。读写器的频率决定了RFID系统的工作频率,是 RFID系统的主要部件。
各种读写器虽然在工作频率、耦合方式、通信流程和数据传输方式等方面有很大的不同,但在组成和功能方面是十分类似的。读写器的主要功能是将数据加密后发送给电子标签,并将电子标签返回的数据解密,然后传送给计算机网络。
读写器的组成
1. 读写器的软件
读写器的所有行为均由软件来控制完成,软件向读写器发出读写命令,作为响应,读写器与电子标签之间就会建立起特定的通信。读写器的软件经由生产厂家在产品出厂时固化在读写器中。软件负责对读写器接收到的指令进行响应,并对电标签发出相应的动作指令。软件负责系统的控制和通信,包括控制天线发射的开关、控制读写器的工作模式、控制数据传输和控制命令交换等。
2. 读写器的硬件
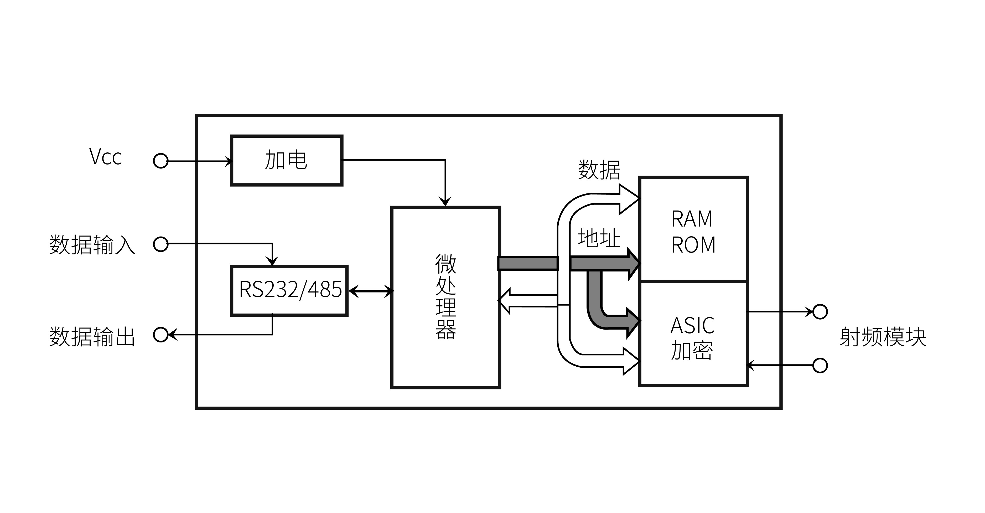
读写器的硬件一般由天线、射频模块、控制模块和接口组成。控制模块是读写器的核心,一般由 ASIC 组件和微处理器组成。控制模块处理的信号通过射频模块传送给读写器天线,由读写器天线发射出去。控制模块与应用软件之间的数据交换,主要通过读写器的接口来完成。读写器的组成如图所示。

控制模块由 ASIC组件和微处理器组成,微处理器是控制模块的核心部件。ASIC组件主要用来完成逻辑加密的过程, 如对读写器与电子标签之间的数据流讲行加密,以减轻微外理器计算过于密集的负担。对 ASIC 的存取,是通过面向寄存器的微处理器总线来实现的。控制模块的构成如图所示。

读写器的控制模块主要完成以下功能:
● 与应用软件进行通信,并执行应用软件发来的命令。
● 控制与电子标签的通信过程。
● 信号的编码与解码。
● 执行防冲突算法。
● 对电子标签与读写器之间传送的数据进行加密和解密。
● 进行电子标签与读写器之间的身份验证。
射频模块主要由发送电路和接收电路构成,用以产生高频发射功率,并接收和解调来自电子标签的射频信号。发送电路的主要功能是对控制模块处理好的数字基带信号进行处理,然后通过读写器的天线将信息发送给电子标签。发送电路主要由调制电路、上变频混频器、带通滤波器和功率放大器构成。接收电路的主要功能是对天线接收到的已调信号进行解调,恢复出数字基带信号,然后送到读写器的控制部分。接收电路主要由滤波器、放大器、混频器和电压比较器构成,用来完成包络产生和检波的功能。
读写器控制模块与应用软件之间的数据交换,主要通过188新利app
的接口来实现,接口可以采用RS-232、RS-485、RJ-45或WLAN接口。
天线是用来发射或接收无线电波的装置。读写器与电子标签是利用无线电波来传递信息,当信息通过电磁波在空间传播时,电磁波的产生和接收要通过天线来完成。








